構造的な補強も含めて便利な金物はたくさんあるのですが、設計と施工の両面から使い勝手を考えると、結構、使うものは絞られてくることになります。今回、ちょっとショックなことに、耐震改修でも新築・増改築でもメインで使っていた金物が廃番になってしまいました。
その金物は、株式会社タナカの「コンパクトコーナー」というものです。

この金物の特徴は、なんといっても、幅・奥行が非常に小さい(コンパクト)であるということです。30mmを下回っているということが重要で、真壁造りという柱が見えている壁の形態の場合、筋交いが取り付いて、残る柱の部分は、60mm程度しかありませんので、壁の仕上げのチリを15mm程度考慮すると、45mm以内で下地のボードや胴縁などを納めねばなりませんので、柱に取り付く金物の幅はできるだけ小さいほうがよいです。

そして、金物の選定にあたっては、いわゆる告示1460号のい、ろ、は等の記号を見て、その判断を行う人が結構いますが、実際には、引張耐力を見ないとダメなのです。


い、ろ、は等の記号は、それぞれ範囲のある耐力のどのランクに当てはまるか?というだけの指標で、同じ「は」の金物でも強度が違うわけです。例えば、コンパクトコーナーで設計している場合、このカタログに記載してある耐力を下回る金物を採用するというのは性能を下げるということになります。特に構造計算で柱の金物を選定している場合には、耐力を評価していますので、「は」だからということで同等とすることは原則できません。また、金物の耐力は設置される柱の位置によって変わります。カタログの「中柱型」とは壁の中間部分にある柱で、「隅柱型」は角柱にあたる柱で、耐力が違うわけです。また、取付を床合板の上から取り付ける場合と、直接、梁に取り付ける場合でも違います。弊社では設計上の扱いを合理的にするために、低い耐力で位置に関係なく耐力評価をしています。
さて、「コンパクトコーナー」ですが、小さな金物なのに耐力は高いのです。小ささゆえに使い勝手もよく、耐力もそれなりにある金物として重宝していたわけで、これが廃番になるとなると、同等程度のものを探すしかありません。
そこで、今回から、同じタナカの「フックコーナー」というものを採用することにしました。




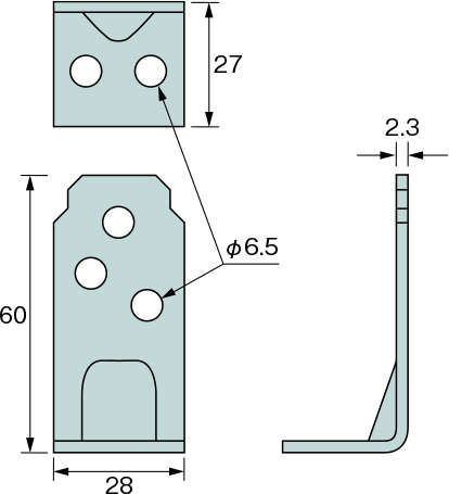
大きさが幅が約2mm大きくなります。28mmが30mmですので、なんとかなるのではということでの採用ですw 耐力も合板使用でも5.4kNと耐力面ではコンパクトコーナーを若干上回るわけで、構造的には有利になります。やはり問題は「大きさ」ということになります。
金物仕様は木造建築にとって大変重要なもので、ここをしっかり押さえなければ耐震性の高い建物をつくることはできませんし、ムダにコストのかかる金物を採用することになってしまうわけです。




